近日,常州市武进区人民法院裁定受理常州比太科技有限公司破产重整案。

企业基本情况:
常州比太科技于2011年9月9日依法登记成立,注册资本834.0255万美元。经营范围为从事真空离子镀膜设备及配件、太阳能及微电子行业的生产设备及配件、以及晶硅电池生产设备控制软件和硬件的研发、生产和销售。

多年来,比太科技一直致力于高效异质结电池(SHJ)的研发,并已经开发出了电池制造的整线交钥匙工程的装备和工艺,为新一代异质结电池的低成本量产奠定了基础。公司的HJT装备电池效率已达到25%。
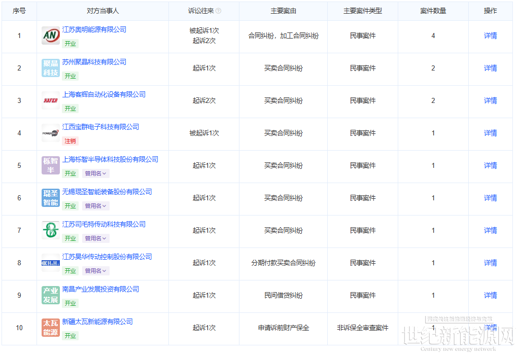
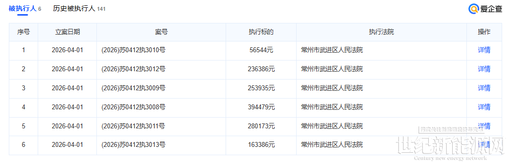
爱企查信息显示,比太科技目前深陷多起合同纠纷,仅2026年4月被执行金额合计超百万。


免责声明:本平台仅供信息发布交流之途,请谨慎判断信息真伪。如遇虚假诈骗信息,请立即举报
举报