3月19日,企查查显示,国富氢能发布定向增发1.4854亿港币的信息。
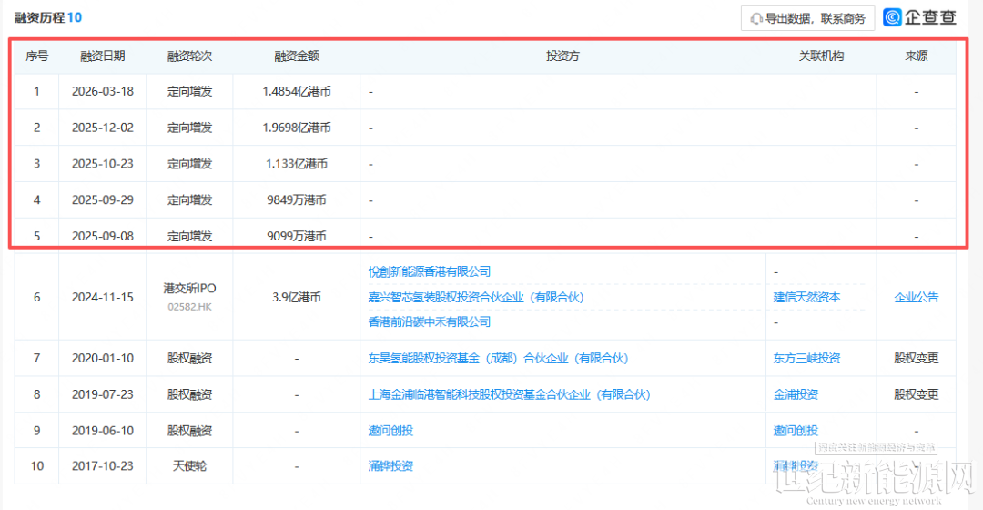
据了解,自港交所IPO后,国富氢能已完成5次定向增发融资,累计融资金额6.483亿港币。


国富氢能成立于2016年,2024年11月15日在港交所主板上市(股票代码02582.HK),是“港股氢能装备全产业链制造第一股”。总部位于江苏省张家港市,拥有张家港、上海青浦等国内生产基地,并在德国、巴西、阿联酋、新加坡等国家设立子公司或合资公司,布局全球氢能市场。
在上市前,国富氢能曾经历4轮融资,均未披露融资金额。
2025一季度,国富氢能频有消息。
2月,投资湖北三峡中旖新能源有限公司,出资额645.6241万元。
3月4日,国富氢能与BTE及Hylium进一步订立三方供应合作协议,将在北美市场合作开展10兆瓦级数据中心发电示范项目。
3月8日,国富氢能发布2025年度业绩预告:预计截至2025年12月31日止年度,公司可能录得本公司拥有者应占的亏损介乎约2.5亿元至3.9亿元,较截至2024年12月31日止年度的亏损增加约18.89%至85.47%。
3月11日,国富氢能发布公告,折价12.28%(每股31.07港元)配售490.895万股,总计募资1.49亿港元。
3月16日,国富氢能联手羚牛氢能,成立国富(济南)科技开发有限公司。由江苏国富氢能技术装备股份有限公司持股80%,浙江羚牛益世新能源科技有限公司持股20%。
免责声明:本平台仅供信息发布交流之途,请谨慎判断信息真伪。如遇虚假诈骗信息,请立即举报
举报