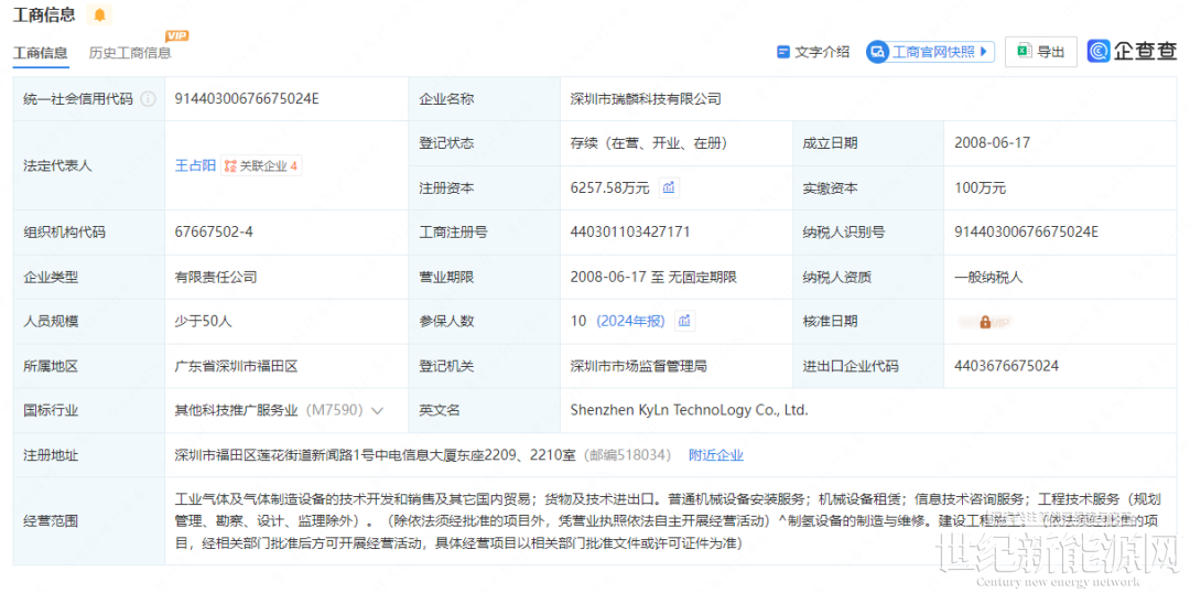
氢能观察从企查查获悉,国内知名碱性电解槽企业——深圳市瑞麟科技有限公司发生股权变更。

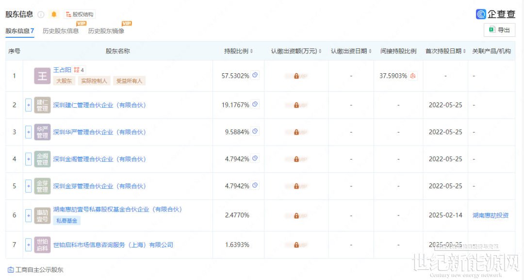
企查查显示,深圳市瑞麟科技有限公司股东发生变更,新增世铂启科市场信息咨询服务(上海)有限公司,持股1.6393%。据了解,此次变动是英美资源内部业务板块重组拆分的结果。


今年2月14日,瑞麟科技完成2.47%股权转让,出让方为深圳瑞科氢能科技有限公司,受让方为湖南惠劼壹号私募股权基金合伙企业(有限合伙)。

据了解,深圳市瑞麟科技有限公司专注于绿色清洁能源领域的研究,氢气发生器的制造及各领域用氢解决方案。全资工厂位于辽宁,总资产过亿元,工厂总占地30亩,厂房面积超过20000平方米。由1名院士及近50位工程师组成的专家团队,完全自主生产具备世界先进水平的制氢设备,不仅拥有独立知识产权,也是国内首家电流密度超过8000A/m2,可实现10%-110%快速动态响应,在全球有超过200台设备已投入使用,是国家专精特新“小巨人”企业。
免责声明:本平台仅供信息发布交流之途,请谨慎判断信息真伪。如遇虚假诈骗信息,请立即举报
举报