氢能观察从企查查获悉,国内氢燃料电池及核心零部件供应商——锋源氢能近日完成C轮融资,融资金额未披露,投资方为基石创投。


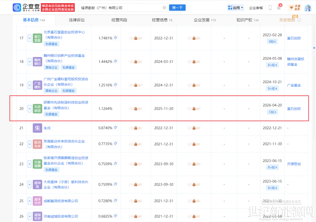
完成本轮融资后,锋源氢能发生股权变更,基石创投(邯郸市先进制造科技创业投资基金(有限合伙))将持有锋源氢能1.1264%的股份。

锋源氢能(广州)有限公司,曾用名锋源新创科技(北京)有限公司,成立于2017年11月28日,是一家专注于氢燃料电池及核心零部件研发、生产与销售的国家高新技术企业。公司成立以来,获得了包括北斗资本、武岳峰资本、基石创投等知名机构的投资,累计融资额近亿元,其中2023年6月完成的近亿元B轮、B+轮融资(B轮由基石创投领投)进一步加速了公司发展。
免责声明:本平台仅供信息发布交流之途,请谨慎判断信息真伪。如遇虚假诈骗信息,请立即举报
举报