近日,海德明能(南京)新能源科技有限公司发生工商变更,新增蔚来资本旗下合肥蔚来产业发展股权投资合伙企业(有限合伙)、厦门雅恒创业投资基金合伙企业(有限合伙)等为股东,注册资本由约96.6万元增至约110.5万元,同时,多位主要人员发生变更。

海德明能(南京)新能源科技有限公司成立于2021年12月,总部位于江苏南京,是一家聚焦绿氢技术创新与应用的可再生能源制氢储能服务商。
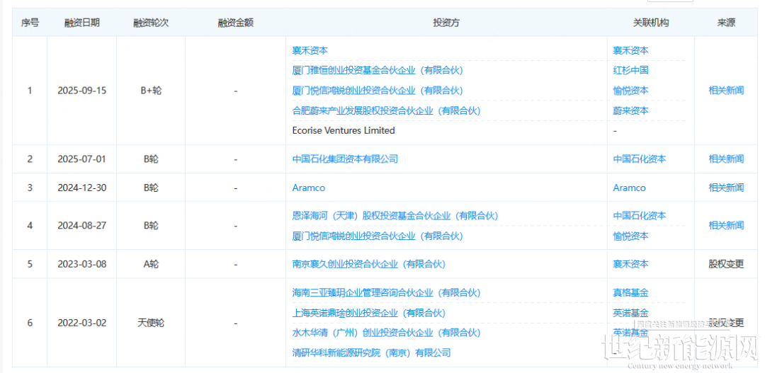
自2022年起已完成6起融资,具体如下:

免责声明:本平台仅供信息发布交流之途,请谨慎判断信息真伪。如遇虚假诈骗信息,请立即举报
举报