分享好友 资讯首页 网站导航

破产!又一光伏企业“挺不住了”

刘英丽 2026-03-02 08:59 · 头闻号光伏财经

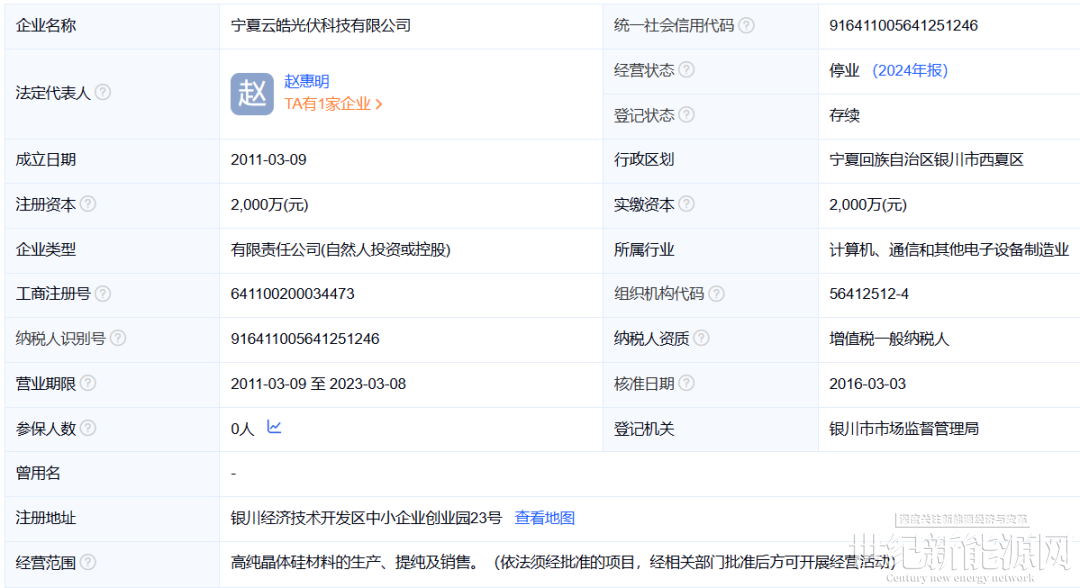
2月24日,宁夏云皓光伏科技有限公司被申请破产。据此前相关报道,银川高新技术产业开发有限责任公司向相关部门申请对宁夏云皓光伏科技有限公司进行破产。自上次报道后已过去三个月,目前该公司的破产申请已获受理,企业开启破产流程。

宁夏云皓光伏科技有限公司成立于2011年3月9日,注册资本:2000万元。

经营范围:高纯晶体硅材料的生产、提纯及销售。

免责声明:本平台仅供信息发布交流之途,请谨慎判断信息真伪。如遇虚假诈骗信息,请立即举报

举报
反对 0
更多相关文章

评论

0

收藏

点赞