近年来,我国储能产业持续高速发展,大型项目与海外订单接连落地,行业进入新一轮爆发期。储能作为新型电力系统的关键环节,持续获得政策支持,市场前景广阔。因此,众多央国企纷纷加快布局储能赛道。
近期国家电投、国家电网、大唐集团、皖能集团等企业合资成立新公司,2家新公司总注资达到130亿元,企业业务均涵盖储能技术服务,进一步提升央企巨头拓展储能业务板块的速度。
近期,国家电投集团生物质能源有限公司在北京成立,注册资金为80亿元。
企查查显示,该公司主营业务为发电业务、输电业务、供(配)电业务;合同能源管理;太阳能发电技术服务;风力发电技术服务;储能技术服务;碳减排、碳转化、碳捕捉、碳封存技术研发等。

企查查股权穿透显示,该公司由国家电投集团、国网综合能源服务有限公司共同出资设立,占比分别为70%、30%,其中国网综合能源服务有限公司为国家电网有限公司全资子公司。

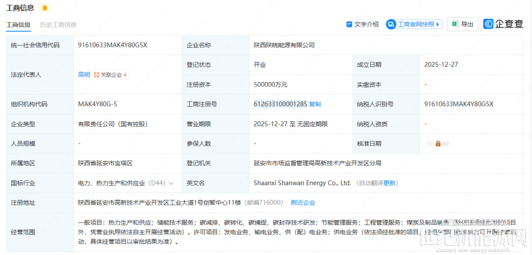
近日,陕西陕皖能源有限公司在延安成立,注册资本为50亿元,主营业务包括热力生产和供应;储能技术服务;碳减排、碳转化、碳捕抓、碳封存技术研发;节能管理服务等。

该企业由大唐集团、延长石油、皖能集团三家企业共同出资,持股分别为34%、34%、32%。

据悉,大唐陕西发电有限公司是中国大唐集团全资子公司,延安皖能电力有限公司是安徽省能源集团控股子公司。
值得关注的是,延安皖能电力有限公司成立于2025年9月30日,注册资本5亿元,由安徽省皖能股份有限公司、阳光电源旗下公司阳光新能源、国轩控股集团旗下公司安徽国轩新能源共同组建,主营业务为发电技术服务;太阳能发电技术服务;风力发电技术服务;储能技术服务等。
免责声明:本平台仅供信息发布交流之途,请谨慎判断信息真伪。如遇虚假诈骗信息,请立即举报
举报