分享好友 资讯首页 网站导航

河北一老牌光伏企业被申请破产

刘英丽 2025-12-31 09:29 · 头闻号光伏财经

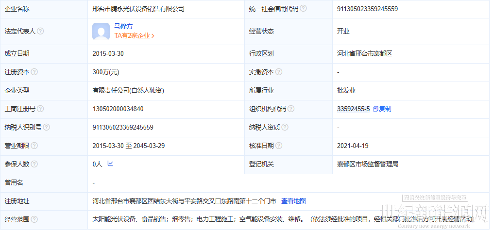
12月22日,河北省邢台市中级人民法院公告显示,邢台市腾永光伏设备销售有限公司因“不能清偿到期债务,且资产不足以清偿全部债务或明显缺乏清偿能力”被申请破产清算。

公开资料显示,邢台市腾永光伏设备销售有限公司成立于2015年,注册资本300万,主营业务为太阳能光伏设备销售等。目前,其实控人马修方已成为限高人员。同时,腾永光伏2024年年报显示,2024年公司参保人数为0。

免责声明:本平台仅供信息发布交流之途,请谨慎判断信息真伪。如遇虚假诈骗信息,请立即举报

举报
反对 0
更多相关文章

评论

0

收藏

点赞