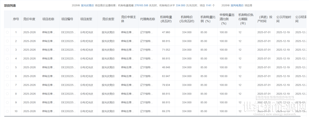
12月19日,国网新能源云公示吉林省首次增量新能源项目机制电价竞价结果,共1164个新能源项目入围,其中:
2026年按光伏竞价项目竞价出清结果:机制电量规模276165.506兆瓦时,机制电价水平334.000元/兆瓦时,项目1141个
2026年按风电竞价项目竞价出清结果:机制电量规模3775590.450兆瓦时,机制电价水平250.000元/兆瓦时,项目23个
根据此前的《吉林省首次增量新能源项目机制电价竞价组织公告》,竞价项目范围为2025年6月1日-2026年12月31日全容量投产的新能源项目。按风电、光伏两个类别,分类组织竞价、出清。
机制电量年度总规模:45.76亿千瓦时,其中,风电38.62亿千瓦时,光伏7.14亿千瓦时。
风电、光伏竞价上限均为334元/兆瓦时,竞价下限均为150元/兆瓦时。
执行期限:未投产项目自承诺投产日期次月起执行12年;已投产项目自竞价结果公布日次月起执行12年。
部分项目如下:



免责声明:本平台仅供信息发布交流之途,请谨慎判断信息真伪。如遇虚假诈骗信息,请立即举报
举报