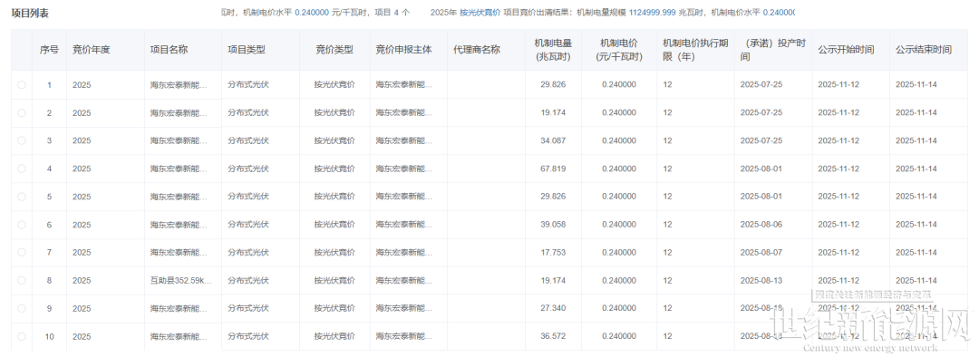
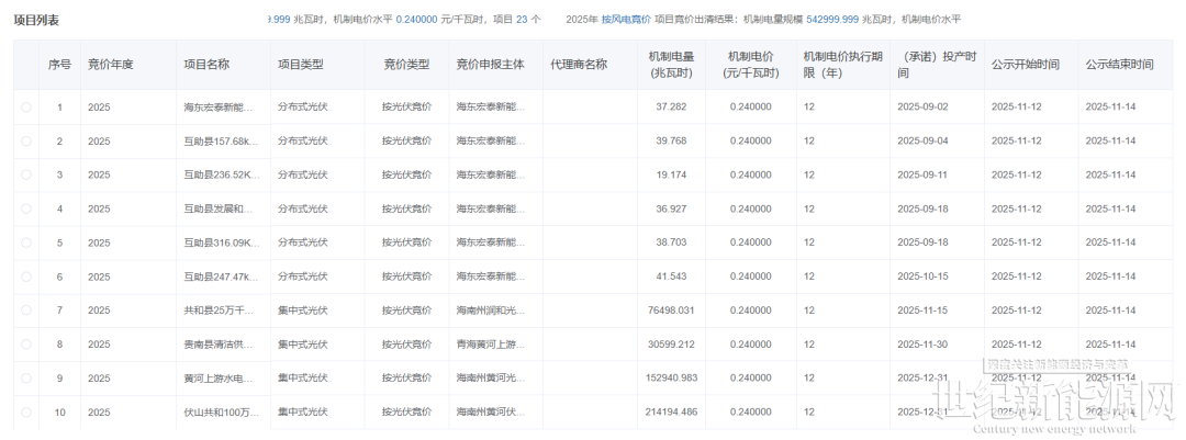
11月12日,青海公示2025年青海省新能源机制电价竞价结果。光伏机制电价0.24元/度,入围项目23个,机制电量1124999.999兆瓦时;从入围项目来看,包括16个分布式光伏项目,7个集中式光伏。风电机制电价0.24元/度,入围项目4个,机制电量542999.999兆瓦时。根据《2025年青海省新能源机制电价竞价组织公告》:
机制电量规模:本次竞价的机制电量总规模22.41亿千瓦时,其中,风电6.33亿千瓦时,光伏16.08亿千瓦时。
竞价限价水平:风电、光伏竞价上限均为0.24元/千瓦时。风电竞价下限0.205元/千瓦时,光伏0.18元/千瓦时。
执行期限:12年,自2026年1月1日起计。
从竞价结果来看,光伏、风电申报电量规模均低于机制电量核定规模,机制电价则均为上限的0.24元/瓦。截止到目前为止,山东、甘肃、新疆、广东、云南、江西6省的机制电价均已公示。

具体竞价结果见下:



免责声明:本平台仅供信息发布交流之途,请谨慎判断信息真伪。如遇虚假诈骗信息,请立即举报
举报