分享好友 资讯首页 网站导航

注册资本10亿元!国轩高科成立动力科技公司

刘英丽 2025-10-29 13:38 · 头闻号储能企业

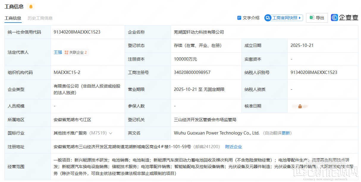
10月21日,芜湖国轩动力科技有限公司成立,法定代表人为王强,注册资本为10亿元,经营范围包含:电池销售;电池制造;电池零配件生产;资源再生利用技术研发;新能源汽车换电设施销售等。企查查股权穿透显示,该公司由国轩高科间接全资持股。

免责声明:本平台仅供信息发布交流之途,请谨慎判断信息真伪。如遇虚假诈骗信息,请立即举报

举报
反对 0
更多相关文章

评论

0

收藏

点赞