分享好友 资讯首页 网站导航

风电0.252元/度!新疆2025年增量新能源项目机制电价竞价结果公布

刘英丽 2025-10-16 09:11 · 头闻号风电项目

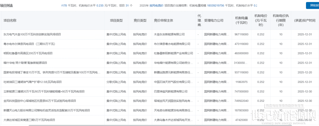
10月15日,国网新疆电力有限公司公示2025年度增量新能源项目机制电价竞价结果。根据公示,风电机制电量规模18,539,219,756千瓦时,机制电价0.252元/千瓦时,项目36个,其中集中式陆风项目34个,分散式陆风项目2个;光伏机制电量规模3,608,399,178千瓦时,机制电价0.235元/千瓦时,项目31个。

具体如下:

免责声明:本平台仅供信息发布交流之途,请谨慎判断信息真伪。如遇虚假诈骗信息,请立即举报

举报
反对 0
更多相关文章

评论

0

收藏

点赞